Технология изоляции в настоящее время получила широкое распространение в нескольких областях применения в сфере фармацевтики и естественных наук. Возможность создания физически отделенной от лаборатории среды, в которой можно выполнять различные виды процессов, делает изоляторы предпочтительными решениями для различных реалий:
• малые и средние лаборатории
• фармацевтическое производство
• аптечные отделения в больницах
Изоляторы позволяют удовлетворить потребности производства без необходимости обеспечения чистых помещений класса B, сокращая как первоначальные инвестиции, так и общие эксплуатационные расходы, как с точки зрения времени, так и финансов. Кроме того, изоляторы обеспечивают масштабируемое решение, позволяющее начать с относительно меньших инвестиций и при необходимости увеличить общую пропускную способность с течением времени.
ISOMATE Steri от производителя BIOAIR – это изолятор положительного давления, предназначенный для обеспечения защиты продукта и процесса во время всех видов деятельности, требующих стерильной среды, и предотвращения риска загрязнения внешними загрязнителями. Защита продукта достигается за счет создания положительного давления внутри рабочей зоны по отношению к окружающей среде. Продукты внутри рабочей камеры обрабатываются с помощью перчаток, установленных на передней панели.
Внутренняя камера снабжена ламинарным потоком стерильного воздуха, отфильтрованного с помощью фильтра HEPA H14. Пропускные коробки снабжены турбулентным воздушным потоком фильтрованного воздуха. Два центробежных двигателя-воздуходувки поддерживают правильные потоки воздуха и перепады давления. Все внутренние поверхности выполнены из нержавеющей стали AISI 316.
Преимущества
• входной воздушный фильтр: HEPA H14 с эффективностью 99,995 MPPS (частицы 0,12 – 0,24 мкм), ≥ 99,999 DOP (0,3 мкм)
• нисходящий фильтр основной камеры: HEPA H14 с эффективностью 99,995 MPPS (частица 0,12 – 0,24 мкм), ≥ 99,999 DOP (0,3 мкм)
• фильтры отработанного воздуха на каждом проходном отверстии: HEPA H14 с эффективностью 99,995 MPPS (частицы 0,12 – 0,24 мкм), ≥ 99,999 DOP (0,3 мкм)
• классификация чистоты внутренней камеры: ISO 3 в соответствии с ISO 14644-1
• класс герметичности 4 в соответствии с ISO 10648-2
• автоматическое регулирование положительного перепада давления внутри рабочей камеры
• автоматическое регулирование частоты вращения воздуходувки для обеспечения постоянного объема и расхода воздуха и компенсации прогрессирующего засорения фильтра
• внутренняя рабочая зона полностью изготовлена из нержавеющей стали AISI316 с отделкой Scotch Brite®
• наружные поверхности из холоднокатаной стали S275JR, окрашенной эпоксидным порошком
• бактерицидная лампа UV-C на задней стенке внутренней камеры
• 2 розетки для дополнительного питания внутри рабочей камеры
• конструкция с двумя стенками. Объемы с положительным давлением окружены (сбоку и сзади) областью с отрицательным давлением для обеспечения безопасности
• переднее окно из безопасного многослойного стекла
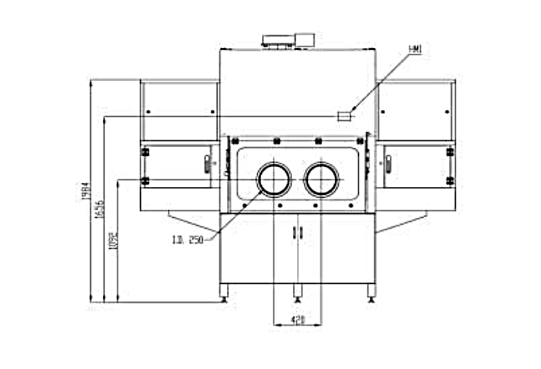
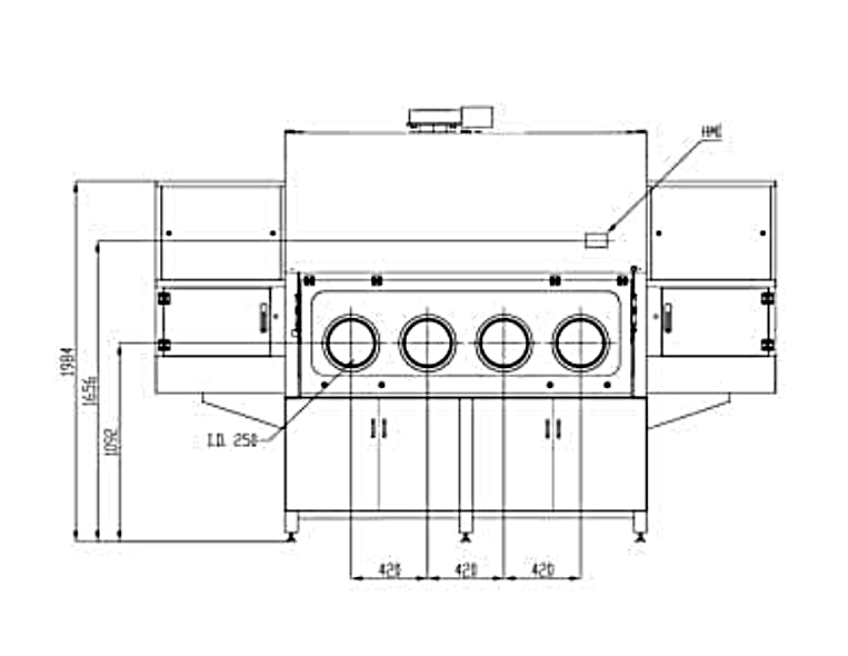
• фланцы перчаток Ø250 (2 или 4)
• блокировка пропускных боксов
• выдвижной лоток для облегчения загрузки/выгрузки продуктов в рабочую камеру
• система управления на базе программируемого логического контроллера
• полноцветный графическим интерфейс с сенсорным экраном
• освещение рабочей камеры светодиодными лампами
• полуавтоматическая система проверки герметичности (полностью автоматический тест доступен опционально)
Технические характеристики
| Характеристики | 2 перчатки | 4 перчатки |
| Внешние размеры, мм | 2,798 x 841 x 2,390 | 3,408 x 841 x 2,390 |
| Размер внутренней рабочей зоны, мм | 1,228 x 590 x 690 | 1,838 x 590 x 690 |
| Передаточный короб | 2 | 2 |
| HEPA-фильтр | 4 | 4 |
| Воздуходувка | 2 | 3 |
| Перчатки | 2 | 4 |
| Классификация рабочей зоны | ISO 3 | ISO 3 |
| Электропитание | 230 В-50 Гц | 230 В-50 Гц |

ISOMATE Steri (2 перчатки)

ISOMATE Steri (4 перчатки)
Доступны опционально
• планка для капельницы с крючками
• кулачковые замки для подключения к внешнему генератору паров перекиси водорода
• полностью автоматизированная система проверки герметичности
• встроенный генератор паров перекиси водорода
• cистема контроля частиц (в рабочей камере)
• cистема микробиологического мониторинга (в рабочей камере)
• полностью внешнее шасси из нержавеющей стали
• система управления SCADA соответствует требованиям CFR 21 part 11
• тестер герметичности перчаток








